02분반 삼다수웨이트조
프로젝트 개요
기술개발 과제
국문 : 다중 대수층 최적 주입정을 통한 염수침투 저감 및 대수층 별 지하수위 관리 시스템
영문 : Optimized Multi-Aquifer Injection Well for Saltwater Intrusion Mitigation and Aquifer-Specific Groundwater Level Management
과제 팀명
삼다수웨트
지도교수
구자용 교수님
개발기간
2025년 9월 ~ 2025년 12월 (총 4개월)
구성원 소개
서울시립대학교 환경공학부·과 2020XXX0** 김**(팀장)
서울시립대학교 환경공학부·과 2020XXX0** 정**
서울시립대학교 환경공학부·과 2020XXX0** 최**
서울시립대학교 환경공학부·과 2021XXX0** 백**
서론
개발 과제의 개요
개발 과제 요약
본 과제는 미래의 제주 동부 해안 저지대 지역의 과잉 양수로 인한 지하수위 하강 및 기후 온난화로 인한 해수면 수위 상승으로 인한 담수 취수정의 염수 침투를 방지하기 위한 목적으로 다중 대수층 주입정 함양 시스템 및 수위센서 및 유량 조절 벨브 등을 통한 지하 대수층 별 상시 지하수위 감시 및 주입 유량 조절 시스템을 설계한다. Modflow2005 시뮬레이션 프로그램을 통하여 선정한 대상지역의 GIS 정보를 바탕으로 다양한 주입 시나리오를 모델링하여 지하수 함양량을 산출하여 월별 주입 유량을 검토한다. 프로토타입 제작 단계에서는 해당 인자들을 반영한 지하수 주입정을 설계 및 제작하며 수위 기반 주입량을 조절할 수 있도록 발전시킨다.
개발 과제의 배경
제주도는 연 평균 강수량이 1,975mm에 달하는 비가 내리는 지역임에도 불구하고 투수성이 좋은 다공질 화산 암류로 이루어진 관계로 연중 흐르는 하천이 없을 뿐만 아니라, 지표수의 발달도 빈약하여 해안지역에 지하수를 통해 음용수, 농/공업 용수의 약 92%를 제공한다. 최근 제주도에서는 유입인구의 증가 및 다양한 개발사업과 물을 많이 이용하는 특용작물 재배 확대와 시설하우스 등으로 지하수 사용량은 지속적으로 증가하여 지하 대수층 수위가 감소하며 기후 변화로 인한 해수면 수위 상승으로 인해 해안 저지대 지역의 해수 침투 문제가 심각한 상태이다(김진근, 2021) 제주특별자치도 물인프라 현황 및 개선방향, 김진근, 2021 . 특히, 제주도 동부 지역의 경우 수십 년 전부터 고염분 지하수 부존 현상이 나타나는 지역으로 과잉 양수 및 해수면 수위 상승으로 인한 해수 침투가 원인인 지역이다(김경호, 2009). 지구온난화에 따른 제주도 근해의 해수면 상승과 제주도 동부 지역 지하수의 염수대 변화. 김경호, 2009
그림1과 같이 지하수 과잉 양수로 인한 지하수위 감소 및 기후변화로 인한 해수면 상승 시 과거에 비하여 해수-담수 경계로 형성되는 렌즈의 경계면이 담수쪽으로 훨씬 깊게 형성된다. 한반도 주변의 해수면 상승 속도가 최근 40여 년간 약 1-3mm의 범위에 있음을 보였으며, 전국적으로 해수면 상승 속도는 세계 평균을 대체로 상회하고 있었으며 제주도 지역은 특히 빠른 해수면 상승 속도를 보였다. 해수침투에 의해 해안지역의 담수 대수층 내로 해수가 유입되게 되면 해안지역 지하수 관정 내의 염도가 증가하여 생활용수 혹은 농/공업용수로서의 기능을 상실하게 되어 큰 경제적 손실을 일으킬 수 있다. 특히, 지하수가 담수의 공급에 대부분을 차지하는 제주도의 경우 물 사용에 심각한 영향을 미치게 된다. 이러한 해수침투 현상을 방지하기 위하여 지하대수층의 수위를 센서를 통해 상시 지하수위를 관리하며 월별로 달라지는 지하수위에 맞추어 하수재처리수를 함양수로 선정하여 주입유량을 조절하면서 지하 대수층에 주입하여 해수침투를 방지하고자 한다. 이를 통해 지하수 사용에 의존도가 큰 제주 지역에서의 효율적인 물 관리 운영체계를 형성할 수 있으며 지표수 유출이 큰 지형적 특징을 가진 제주 지역에 맞추어 지하 대수층을 하나의 큰 배수지의 역할로 만들어 기후 변화에 맞춘 새로운 물 저장창고를 형성하여 안정적인 물 공급 시스템을 구축할 수 있다(이동엽, 2022). 제주도 해안지역에서의 염수침입에 의한 지하수 취약성 평가모델 개발, 이동엽, 2022
개발 과제의 목표 및 내용
1.1 설계 대상지 선정
제주도 동부 유역의 경우, 다른 유역에 비하여 해수-담수 렌즈의 두께가 엷은 관계로 해수면과 가까운 곳에서 지하수 착정심도를 깊게 할 경우 해수가 올라올 수 있는 부존형태를 이루고 있어 동부 유역 구좌수역의 구좌읍은 해수 침투에 각별한 주의가 필요한 지역이다. 제주도, 제주연구원 및 한국농어촌공사에 따르면 제주도 전역의 가용하고 있는 염지하수 관정 681공 중 495공(71.9%)이 동부지역에서 이용되고 있는 것으로 나타났다. 높은 지하수 이용량이 지하수위에 유의미한 영향을 줄 수 있으며 이는 해수침투에 대한 취약성을 높일 수 있다.
해수침투를 방지하기 위한 주입정 설계 시 그림4와 같이 담지하수 취수정과 염지하수 취수정이 존재할 때 담지하수의 하강과 이로 인한 경계면에서의 수압 감소가 염지하수의 내륙이동을 촉발하면서 시작된다. 따라서 담지하수위의 하강을 초래하는 모든 자연적(기후변화, 강수량과 지하수 함양량의 감소 등), 인위적(지하수 양수 등) 현상들이 해수침투에 직접적으로 연관된다.
염지하수 양수정과 담지하수 양수정을 경계로 하여 해수가 담지하수 양수정까지 침투하지 않도록 제주동부하수처리장에서 하수재처리수를 [그림 5]와 같이 주입정을 설치하여 주입할 예정이다.
1.2 주입 방식 및 수원 조사
주입정을 통한 인공함양은 ‘지하 주입 방식’으로 제주 지역에 이미 존재하는 인공함양 시설의 ‘표면 침투 방식’ 대비 기술적 효율성, 전략적 운영이 가능하다는 이점을 제공한다. 하나의 주입정을 통해 다수의 대수층에 동시에 인공함양을 수행할 수 있어 효율적이며 실시간 지하수위 변화에 따른 즉각적인 유량 보정 및 운영 관리가 용이하다. 또한 주입정을 전략적으로 배치하여 수두 장벽을 형성함으로써 해수 침입을 효과적으로 방지하고 지하수 오염을 저감할 수 있다. 이러한 지하 주입 방식에서는 대규모의 안정적인 물 공급이 중요하기 때문에 하수 재처리수를 주입 수원으로 결정하였다. 해당 수원은 계절적 요인에 영향을 비교적 적게 받기 때문에 지속적으로 대규모 함양이 가능하다. 또한 제주도 내 하수 재이용 시설 두 곳 중 하나인 동부하수처리장이 현재 제주 물 재이용 관리계획(2022) 제주특별자치도, 제주특별자치도 물 재이용 관리계획 환경부 승인, 2022 에 의거하여 시설 증설 공사가 진행 중에 있다는 점과 해당 시설이 주입정 설계 대상 구역으로부터 직선거리 약 10km 이내로 수원의 이송 및 공급에 유리한 지리적 이점을 지닌다는 점에서 안정적이고 충분한 수원 공급지가 확보되었음을 확인하였다.
1.3 주입시스템 작동 기준 설정
주입시스템은 상시 주입으로 작동되며 Modflow2005 지하수 거동 시뮬레이션 프로그램을 사용하여 양수량에 따른 시나리오별 필요 주입량을 일단위로 산정하였다.
1.3.1 관측 지하수위에 따른 월별 주입 필요 등급 설정
지하수위 실측 데이터는 지하수정보관리시스템 상 ‘JR구좌4’ 관측소 데이터로부터 얻으며 연간 지하수위 데이터를 토대로 갈수기를 1-4월, 10-12월로 간주한다. 월별 주입 필요 등급은 설계 대상지 인근 지하수위 관측소인 JR구좌4의 지하수위 변동 값을 기준으로 다음과 같이 다섯 가지 등급으로 나뉜다.
1.3.2.
SWI2 패키지 기반 염수쐐기 모델링 및 적정 주입량의 할당
적정 주입량은 염수쐐기가 모델에 입력한 주입정 설계 라인을 내륙방향으로 침투하지 못하게 하는 주입량 값으로 이를 월별 주입 필요 등급에 따라 할당하여 월별 주입량을 산정하였다. 이때 염수쐐기의 변화를 관찰하기 위하여 SWI2 패키지를 활용하였다. 해당 모델은 담수-염수 경계면 추적 방법으로 식1의 Ghyben-Herzberg 원리를 기반으로 한다. 해당 식의 hf는 MODFLOW 내에서 수리 지질학적 조건과 경계 조건 하에서 등가 담수 수두로서 계산되며 SWI 패키지는 이 hf값을 입력받아 새로운 경계면의 위치 Zi를 계산하고 업데이트 한다.
또한 주입정 별 일당 필요 주입량, 연간 총 필요 주입량, 갈수기 일당 필요 주입량으로 주입량 데이터셋을 정리하였으며 시뮬레이션 결과 값은 2. 설계에서 자세히 다루도록 한다.
1.4. 자동 주입 시스템 설계
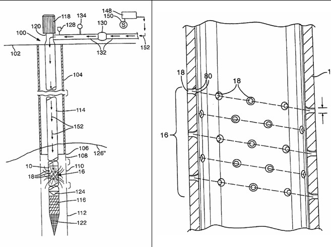
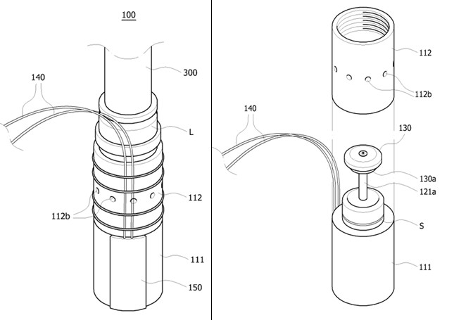
1.4.1주입정 설계 및 제원 산정
주입정은 다중 대수층 적용을 위하여 2개의 지하 대수층에 주입이 가능한 것으로 설계 및 제작하였다. 케이싱, 유입관, 센서관, 지하수층 관을 포함하며 2개의 주입 시스템이 수직으로 연결되어 각각의 주입 시스템이 필요에 따라 별도로 자동제어가 가능하도록 설계되었다. 주입정의 제원은 시뮬레이션 결과를 토대로 시간최대주입량에 대응하는 구경을 산정하여 주입량을 안정적으로 공급할 수 있도록 하였다.
1.4.2 지하수위 관리 및 제어 알고리즘
지하수위 관리 및 제어는 감시 및 원격 시스템에 자동 제어를 결합한 시스템으로 운영된다. 해당 시스템은 데이터 수집 및 변환 > 초기설정 > 상태판정 > 제어 및 경보 > 최종 주입 판단의 메인 흐름을 가진다. 상태 판정을 위한 기준은 ‘기준 수위’ 로서 이는 염수 침입 방지 목적으로 검토된 법적 기준을 이용하고 이것 역시 JD한동3 관측정의 기준 수위인 1.6 m로 설정한다. 기본 주입량은 앞서 산정된 일단위 필요 주입량으로 하되, 제어 및 경보 알고리즘에 따른 보정값이 반영될 수 있다. 보정값은 식1의 선형 보정 수식을 토대로 산출한다.
최종 주입은 수위 데이터 기반 상태판정 값에 따라 1단 주입/2단 주입/1,2단 주입이 자동, 선택적으로 운영된다.
관련 기술의 현황
관련 기술의 현황 및 분석(State of art)
- 전 세계적인 기술현황
기술명 Dual-Zone Injection Well
기관 LACFCD
특징
단일 관내에서 두 개 층에 동시에 또는 선택적으로 주입할 수 있도록 설계된 주입정이다. 하나의 케이싱에 두 개 대수층 구간을 대상으로 천공하고 그 사이를 밀봉하여 구획하며, 케이싱 내부에 팩커(packer)를 설치해 상하 층 간 수리적 분리를 유지한다. 팩커는 지표면에서 공급되는 질소 가스로 채워진 팽창식 고무 조립체이다. 이를 통해 주입정 한 개로 복수의 심도에 담수를 주입하거나 제어할 수 있어 경제적이나, 팩커를 이용한 밀폐 기술이 요구된다.
기술명
Cluster-Type Injection Well
기관 OCWD
특징
근접한 하나의 부지에 여러 단일 주입정을 배열하여 하나의 시스템처럼 운영하는 방식이다. Talbert 차수벽의 신규 설계에서는 한 부지에 최대 3개의 단일공 주입정을 약 6 m 간격으로 군집 배치하여 얕은 층부터 깊은 층까지 다층 주입을 구현한다. 각 개별 공은 목표 층위 하나에만 주입하는 단일 심도 방식이라 구조가 단순하면서도, 군집 전체로 보면 다층 주입 효과를 얻는다. 이 방식은 기존 다중관정 대비 시공 및 운영의 유연성을 높이고 유지보수를 개별 공 단위로 수행하기 용이하다.
기술명
Telemetry System (SCADA)
기관 LACFCD
특징
98개의 주입정과 65개의 관측정을 3개의 원격 측정장치(RTU)와 중앙 제어센터(MCC)로 자동 측정 및 원격제어하는 반자동 시스템이다. 관측정에서 전자식 센서에 의하여 원격측정된 TDS, 주입유량, 주입 압력, 염소이온 농도, 지하수위를 데이터를 통신선을 통하여 RTU로 전달한다. RTU는 Radio Communications Link를 통해 MCC로 데이터를 실시간으로 전달한다. MCC의 컴퓨터는 수신된 데이터를 가공하여 관리자에게 제공한다. 관리자는 이를 기반으로 판단하여 RTU에 주입정 제어 신호를 전달한다. 즉, 데이터 수집은 자동으로 이루어지지만 제어는 관리자가 개입하여 수동으로 이루어진다.
기술명
GWRs (SCADA)
기관 OCWD
특징
주입수인 고도처리수 생산 플랜트부터 관측정 및 주입정을 일체화하여 제어하는 관리자가 필요한 자동 측정 및 자동 제어 시스템이다. SCADA 프로그램이 자동으로 주입수 생산 플랜트의 생산량과 관측정의 TDS, 염소이온농도, 지하수위값과 주입정의 주입률, 주입압력 등의 값을 활용하여 주입시스템을 제어한다. 해당 데이터를 이용하여 주입정의 점검시기 및 교체주기 또한 계산된다. 주입 시스템은 자동으로 운영되지만 관리자의 감독을 통하여 운영 모드 설정 및 수동 개입이 필요하다. 예를들어, 관정 압력이 임계치 이상으로 상승할 경우 관리자는 경보를 받고 조치를 취하게 된다. 효율적이지만 시스템 유지를 위하여 많은 비용이 들고 전문성이 필요하다는 단점이 존재한다.
- 특허조사 및 특허 전략 분석
특허명 Aquifer recharge valve and method
특허번호 US20060127184A1
특징
1. 정밀한 유량 및 개방도 제어 가변적인 주입량 조절: 슬리브(20)가 파이프 단면부(10) 내부를 따라 이동하여 함양 개구부(18)의 열린 정도를 부분적으로 또는 전체적으로 조절하여 함양수의 유량을 정밀하게 제어한다.
2. 대수층 막힘 방지 및 균일 주입 구조 개구부의 분산 배열: 함양 개구부(18)가 파이프의 둘레를 따라 나선형 또는 경사지게 다수 배열되어 있어 대수층 전체에 걸쳐 물이 균일하게 퍼져나가도록 유도하여 주입 효율을 높이며 개구부(18) 내부 모서리(80)를 경사 처리하여 대수층 막힘현상을 완화하는데 기여한다.
3. 통합된 시스템 관리 능력 네트워크 기반 제어: 시스템은 주입 라인(102), 유량계(132), 압력 게이지(134), 그리고 제어 시스템(148)을 통합하여 운영하여 지표면의 펌프 작동 및 밸브 개폐를 원격 또는 자동으로 제어한다.
효과
1. 운영 효율성 및 안정성 향상 함양 개구부를 다수 분산 배열하고, 밸브를 통해 유량을 정밀 제어함으로써 대수층 막힘 발생을 지연시키고 관리 비용을 절감한다. 대수층의 허용 주입 능력에 맞춰 최적의 주입 효율을 지속적으로 유지할 수 있다. 실시간으로 주입정의 운영상태를 모니터링하고 밸브를 자동으로 제어하여 인력 투입을 줄이고 운영 안정성을 높일 수 있다.
2. 지속 가능한 수자원 관리 기여 갈수기나 가뭄 시기에 사용할 수 있는 수자원을 선제적으로 확보하여 물 부족 위험을 완화할 수 있다. 염수가 내륙 대수층으로 들어오는 것을 효과적으로 차단할 수 있다. 증발 손실이 거의 없어 장기적인 물 저장에 유리하며 기후 변화에 대한 물 공급 탄력성을 높인다.
3. 환경적 및 경제적 이점 과도한 지하수 양수로 인해 압력이 낮아져 발생할 수 있는 지반 침하 문제를 지하수 압력 회복을 통해 예방하거나 완화할 수 있다. 주입정 방식은 필요한 부지 면적이 작아 토지 이용 효율이 높고 도시 지역이나 협소한 지역에도 적용하기 용이하다.
특허명 IOT 기반 라이다 센서 기술을 이용한 지하수 모니터링 시스템
특허번호 WO2021172719A1
특징
1. 측정방식(LiDAR 센싱) LIDAR 센서부(120)를 사용하여 레이저 펄스로 수면까지의 거리를 측정하며 기존의 수중 압력식 센서의 이물질로 인한 성능 저하를 방지하며 관정 내부의 펌프나 주입 배관 등 다른 시설물과의 물리적 간섭 없이 안정적으로 수위를 측정할 수 있다.
2. 지능형 시스템 통합 및 관리 통신부(140)를 통해 측정된 수위 데이터가 관리 장치(200)로 즉시 전송되어, 주입정의 운영 상태를 즉시 파악할 수 있다. GPS 센서부(110)를 내장하여 측정 데이터에 정확한 위치 정보를 기록하여 다수의 관정을 체계적으로 관리하고 지도 기반으로 데이터를 분석할 수 있다. 지하수위 측정 장치(100)가 관정 상단에 일체형으로 설치되는 구조이므로, 현장에서의 설치 과정이 간단하며 센서 교체 등 유지보수가 편리하다.
효과
1. 운영 안정성 및 장기적인 신뢰성 확보 물과 비접촉식으로 수위를 측정하므로, 센서의 수명이 크게 늘고 장기간 동안 측정 정확도를 일정하게 유지할 수 있다. 센서 오작동 및 고장률이 낮아져 센서 교체 주기가 길어지고, 관정 내부로 센서를 넣거나 빼는 복잡한 유지보수 작업 횟수가 줄어들어 운영 비용을 절감할 수 있다.
2. 최적의 함양 조건 설정 및 효율 극대화 LiDAR의 고정밀 수위 측정 데이터는 주입정의 실시간 수두 변화를 정확하게 파악하여 주입 밸브의 개도나 펌프의 압력을 미세하게 조정하여, 대수층의 허용 범위를 넘지 않는 최적의 주입 효율을 유지할 수 있다. 실시간 수위 데이터를 통해 관정 내 막힘 현상을 초기에 감지하여 주입정 성능 저하를 방지한다.
3. 데이터 활용 및 시스템 통합 이점 관리자는 현장에 가지 않고도 여러 주입정의 상태를 한눈에 파악하여 신속한 의사 결정을 내릴 수 있다. GPS 센서(110)를 통해 얻은 정확한 위치 정보는 수위 데이터를 지도 기반의 지리 정보 시스템과 연계하여 분석하는데 활용한다. 이를 통해 주입 효과가 주변 지역 및 다른 관측정까지 어ᄄᅠᇂ게 퍼지는지 공간적으로 분석할 수 있다.
특허명 인공함양 주입조절밸브 및 그 운용방법
특허번호 10-2015-0059275
특징
1. 정밀한 대수층별 구획 주입 외부 슬리브(112)에 뚫린 포트(112b)를 내부의 밸브 피스톤이 열고 닫는 구조로 이 장치를 지하수 관정 내 원하는 깊이에 설치하고, 그 위아래를 패커로 밀봉하면 특정 대수층에만 선택적으로 물을 주입할 수 있다. 이를 통해 하나의 주입정에 이 장치와 패커를 여러 세트 설치하면, 수질이나 특성이 다른 다중 대수층에 대해 개별적인 주입 제어가 가능해진다.
2. 관정 내 설치에 최적화된 설계 장치(100) 전체가 주입 파이프(300)의 하단에 연결되어 관정 내부에 설치되는 일체형 모듈로 지하의 열악한 환경(수압, 온도, 수질)에서도 견딜 수 있도록 견고하게 설계되었으며, 케이블(140)을 통해 지상과 연결되어 관정 내부의 흐름을 직접 제어할 수 있다.
효과
1. 수질 보호 및 교차 오염 원천 차단 밸브(100)와 패커를 함께 사용하면, 각 대수층을 물리적으로 완벽하게 밀봉 할 수 있다.
2. 주입 효율 및 저장 용량 극대화 하나의 관정만으로도 여러 개의 대수층을 동시에 활용할 수 있어 경제적 효율성이 극대화된다.
3. 실시간 원격 제어 및 운영 자동화 제어케이블(140)을 통해 전달되는 전기 신호로 밸브가 즉시 반응하며 현장에 인력을 파견할 필요 없이, 지상 제어실에서 즉각적이고 자동화된 운영이 가능해진다.
특허명 인공함양 최적화 방법
특허번호 10-2470194
특징
1. 과학적 데이터 기반의 최적화 난투수층의 특성을 분석하여 지층이 파괴되지 않는 최대 허용 주입 압력을 계산하며 대수층의 특성(투수율, 두께)을 고려하여 주입 가능 유량을 계산한다.
2. 상충 관계의 최적점 탐색 주입 효율을 결정하는 두 가지 상충되는 요소를 동시에 고려하여, 실제 주입량을 최대로 만들 수 있는 최적점을 찾아낸다. 스크린 높이(Ls)가 높을수록 허용 압력(Pi)은 낮아지지만 주입량(Qi) 자체는 늘어나기에 이 두 관계를 고려하여 총 허용 주입량(Qi,Max)이 최대가 되는 지점을 계산한다.
효과
1. 인공 함양 효율 및 경제성 극대화 지층이 견딜 수 있는 최대 한계치를 정확히 계산하여, 안전하게 주입 가능한 최대 주입량을 산출한다.
2. 시스템 안전성 확보 및 실패 위험 감소 과도한 주입 압력으로 인한 함양수 유실을 차단하며 안전 한계 압력을 넘지 않도록 설계하고 운영할 수 있다.
3. 과학적·표준화된 설계 및 운영 표준화된 최적화 알고리즘을 통해 데이터에 기반한 최적의 설계값과 운영값을 도출하여 프로젝트의 신뢰성과 성공률을 높일 수 있다.
- 기술 로드맵
시장상황에 대한 분석
- 경쟁제품 조사 비교
염수 차단벽 생성을 위한 주입정 설계 프로젝트
제품명 웨스트 코스트 분지 방벽(WCBBP)
기관명 LACFCD(현 LA 카운티 공공사업부)
특징
- LA 카운티 공공사업부가 소유한 방벽 시설 중 하나로 LA 카운티 해안선을 따라 14.5km 에 걸쳐 153개의 주입정이 줄지어 건설되었다. - 재활용수와 수입수를 혼합하여 대수층에 주입하며, 기본적으로는 중력 흐름 방식으로 운영되고 주입량은 주입정 정두부에 있는 밸브로 제어되는 시스템이다. - 일부 주입정은 이중 구역 주입정으로 설계되어 복잡한 지질 구조에 효과적으로 대응이 가능하다.
차이점 및 단점
- 이중 구역 주입정으로 설계된 것은 본 과제 아이디와 동일하나 경쟁 제품의 경우 대수층 분리를 위해서 공압 패커를 포함하는 질소 가스 주입 시스템을 이용하고 있다. 이는 지상에는 질소 탱크, 압력 조절기, 컴프레서 등 부가적인 설비가 필요하며 지하 수백 피트 아래에 있는 패커까지 연결된 압력 라인은 시간이 지나면서 손상될 우려가 있다. - 로스앤젤레스 지역으로 공급되는 수입수는 총 길이 1100 km 이상의 장거리 파이프라인을 거치며 수원지와 대상 지역 사이에 테하차피 산맥을 통과하기 위해서 펌프장에서 막대한 펌프 에너지를 사용한다. 해당 펌프장은 캘리포니아 주 전체에서 단일 최대 전력 소비 주체이다.
우리나라 제품
제품명
지반조사를 통해 지하수 유동 예측이 가능한 지하수위 복원 관리 시스템
기관명 (주)이피에스엔지니어링
- 지하굴착공사 구간 지하수 유출로 인한 지반침하를 방지, 예방하기 위해 지하수 모니터링 및 유출 지하수를 재주입하는 시스템이다. - 지하수위, 유량의 실시간 모니터링이 가능하며 함양정 운영의 원격 제어도 가능하다. - 굴착기간 및 방향 등을 고려하여 복수제어가 가능한데, 굴착 진행별로 각 주입정에 별도의 주입량을 설정할 수 있다.
차이점 및 단점
- 해당 제품은 굴착 진행 단계에 초점을 두고 주입량을 조절하지만 본 과제의 경우, 염수 차단벽의 형성이 주입량을 결정하는 핵심 인자이므로 주입량 결정 로직에서 큰 차이를 보인다. - 모니터링 및 지하수 유동 해석 모델링 위주의 제품으로 다중 대수층 맞춤형이나 모듈형과 같은 주입정 형태 및 구조는 일반 주입정을 따른다. - 지하수위 및 지표 변위를 모니터링하기 때문에 물을 주입하는 과정에서 나타나는 폐색, 주입정 주변의 수질 변화 등에 대한 현황을 알 수 없다.
- 마케팅 전략 제시
개발과제의 기대효과
기술적 기대효과
본 과제를 통해 구축되는 시스템은 센서 기반으로 지하수위를 지속적으로 감시하며 변화하는 지하수위에 맞추어 벨브 개폐 여부를 조절하여 하수재처리수 주입유량을 조절하게 된다. 기존에는 단순히 지하수위 감시, 해수침투 감시 등 단편적인 관리 및 감시에만 머물렀지만 향후 미래 기후변화로 인한 지하수위 감소 및 해수면 수위 상승에 대비한 해수침투 문제에 선제적 대응하기 위한 시스템 설계를 위하여 다양한 IoT 기술을 통합하여 데이터를 수집하고 이 데이터를 기반으로 해수침투 문제를 해결하고 안정적인 물 공급 시스템을 구축하는데 의의를 두고 있다. 또한 기존에는 대수층 별 지하수 함양을 위한 주입정이 대수층 별로 필요하여 초기 높은 건설 비용 및 넓은 부지면적을 필요로하지만 다중 대수층 주입정의 경우 단일 주입정으로 대수층 별 관리가 가능하여 제주도와 같은 부지활용면적이 좁은 지역에서 활용가능성이 매우 높을 것으로 기대된다.
경제적, 사회적 기대 및 파급효과
경제적 파급효과
본 설계 시스템은 하수 재처리수를 주입 수원으로 활용함으로써 타 수원 대비 높은 경제성과 염수 침투 방지를 통해 지하수층, 양수정 보호 등 경제적 손실을 예방할 수 있다.
1.최적 수원 선정을 통한 비용 절감
우수, 용암해수와 비교했을 때, 추가 토목시설 건설 없이 기존 동부하수처리장 재이용시설을 활용 및 저렴한 생산단가로 비용 절감이 가능하다.
2. 부가 가치 창출
연간 약 318만 톤의 농업용수 확보로 인한 안정적인 농작물 생산과 하수를 바다로 방류하는 양을 줄임으로써 적조 등 환경 오염 예방에 따른 부가 가치 창출이 가능하다.
3. 자산 보호
내륙 양수정의 염해를 방지하여 연간 500만 원 상당의 자산 보호 효과를 거둘 수 있다.
사회적 파급효과
본 설계 시스템은 기후변화와 지하수 과다 사용으로 인한 제주 동부 지역의 물 부족 및 해수 침투 문제를 해결하고, 지속 가능한 물 순환 체계를 구축하는 데 기여한다.
1.안정적인 수자원 확보
제주도는 수자원의 96% 이상을 지하수에 의존하고 있어 염수 침투에 따른 피해가 크다. 따라서 기후변화에 따른 해수면 상승과 가뭄에도 안정적으로 담수를 공급할 수 있도록 지하수층을 관리하여 안정적인 수자원을 확보한다.
2.지하수 보전 및 환경 문제 해결
해수 침투를 선제적으로 방지하여 농업용수로 사용되는 지하수를 보호한다. 또한, 바다로 방류되는 하수를 고도처리하여 지하수 함양에 이용함으로써 해안 환경 오염 문제를 해결한다.
3.물 재이용에 대한 사회적 인식 개선
WATERe' 프로젝트를 통해 하수 재처리수에 대한 거부감을 해소하고 대체 수자원으로서의 인식을 확산시킨다. 투명한 수질 정보 공개와 시민 참여형 프로그램을 통한 상호 신뢰를 구축하여 제주도의 물 재이용 사업 활성화에 주요한 역할을 할 것이다.
기술개발 일정 및 추진체계
개발 일정
구성원 및 추진체계
내용
공통 분담
① 과제 주제 선정 및 자료 조사
② 기존 기술 조사 및 경제성 분석
③ 개념설계 및 상세 설계
④ 포스터 및 시연물 제작
⑤ 최종설계 및 발표
개인 분담
추진체계
STEP 1
- 지하수 함양을 통한 염수 침투 방지 시스템 사례 조사
- 설계 대상지 선정
STEP 2
- 설계 대상지 수문·지질학적 자료 조사
- 하수재처리수 주입정 설계
STEP 3
- 설계 대상지 수문·지질학적 자료 바탕으로 시나리오 구축
- 시나리오 별 주입 유량 MODFLOW를 통해 산출
STEP 4
- 주입정 수위센서 및 유량 벨브 조작 알고리즘 구축
STEP 5
- 센서 및 벨브를 통한 지하수 주입정 설계 시연물 제작
설계
주입 수원의 비교
염수 침투를 방지하기 위해 대수층에 주입 가능한 수원으로 우수, 하수 재처리수, 용암해수가 있다. 미래에는 기후변화와 사용량 증가로 현재 양수량보다 많이 취수할 것으로 예상되므로 현재 양수량의 1.2배를 반영한 시나리오 5를 중심으로 경제적 효과를 분석하고자 한다. MODFLOW2005 시뮬레이션 시나리오 5에서 9개의 주입정에 대한 일평균 주입요구량은 4150톤/일이다. 또한 내구연한 30년과 화산암 지역인 제주도의 특성으로 보다 높은 건설 비용을 적용하였다. 구체적인 자료가 없는 비용은 나라장터(국가종합전자조달, 입찰정보), 국가법령정보센터(제주특별자치도 설치 및 국제자유도시 조성을 위한 특별법, 제주특별자치도 지하수관리 조례), 정부 표준 공사비 기준 (품셈) 등을 학습시킨 AI를 이용하였다. AI를 이용한 비용 분석으로 최적의 주입 수원을 선정하고자 한다.
1.우수
우수를 수원으로 이용하기 위해서는 안정적인 수량 확보가 가장 중요하다. 기상청 자료에 따르면 해당 지역의 4~9월 강수량이 연평균 강수량의 약 67%로 집중적인 강우 패턴을 확인할 수 있으므로 수량 확보를 위해 장기간 저류 가능한 저류조가 필요하다. 90일 저류를 가정했을 때 용량은 약 37만m3이고, 여유 용량을 20%를 더하면 44만m3규모의 저류조가 필요하다. 또한 우수를 직접 대수층에 주입하면 지하수 오염이 발생하므로 별도의 고도처리가 필요할 것이다. 비용을 산출하기 위해 제주도 어승생 제2저수지 사례를 참고하였고 비용은 아래와 같다.
2. 하수 재처리수
하수 재처리수를 직접 대수층에 주입하기 위해서는 별도의 고도처리가 요구된다. 선정지와 가장 근접한 제주 동부하수처리장의 방류수 수질은 아래와 같다.
방류수 수질 기준은 만족하나 해당 수질을 직접 대수층에 주입할 경우 지하수 오염이 발생한다. 따라서 반드시 RO, 활성탄, UV 등 고도 처리과정을 거쳐야 한다. 이와 관련하여 현재 동부하수처리장에는 규모 5000톤/일의 재이용시설이 존재한다. 동부 재이용시설의 가동률은 0.3%인 15톤/일로 운영되어 재이용시설 이용률이 매우 낮다, 이에 따라 설계한 수위 관리시스템이 해당 시설의 재이용수를 사용할 수 있어 별도의 처리 시설 공사 비용이 들지 않는 장점이 있다. 시설 용량이 동일한 송도 RO 재이용시설의 생산단가는 903원/톤이며 해당 값을 생산단가로 선정하였다. 또한 이송 단가는 경제유속(0.92m/s)와 산업용 전기료(2025년 상반기 기준 179.2원/kWh)를 이용하여 계산한 92원/톤으로 하였다. 추가 발생하는 비용으로는 동부하수처리장 재이용시설에서 선정지까지 물 이송과 관련된 관로 매설, 에너지 비용이 있다. 앞선 비용들을 종합한 결과는 아래와 같다.
3. 용암해수 제주도 동부 지역에는 제주도만 보유한 독특한 수자원인 용암해수가 존재한다. 용암해수는 현무암층에 의해 여과된 염지하수로 수온, pH, 염분 등 일정한 물리적 특성과 병원균이 검출되지 않는 장점이 있다. 따라서 기존 해수 이용보다 비용 측면에서 유리할 것으로 예상된다. 또한 선정 지역인 구좌읍에는 용암해수를 공급하는 용암해수센터와 용암해수 일반산업단지가 위치한다. 중앙 주입정과의 거리가 3km 정도로 매우 가깝다. 용암해수센터가 기업에 용암해수를 공급하는 가격은 1762원/톤으로 나타났다. 해당 가격은 물 이외에도 미네랄 등 유용성분과 사적 이익 포함한 가격이다. 이를 설계 시스템에 사용할 경우, 공적인 사업의 특성으로 인해 비교적 저렴한 가격으로 공급받을 것으로 예상되어 기존 가격에 30%를 제외한 1233원/톤을 적용하였다. 이에 따른 물 생산과 이송에 대한 총비용은 아래와 같다.
4. 결론 하수 재처리수가 경제성 측면에서 가장 우수한 수원으로 나타났다. 우수의 경우, 별도의 저류조를 건설함에 따른 비용이 과다하다. 무엇보다도 안정적인 수량 확보에 대한 어려움이 있을 것으로 예상되어 부적절하다. 다음으로 하수 재처리수와 용암해수의 경우, 둘다 기존 시설을 이용 가능한 장점이 있다. 하지만 용암해수는 하수 재처리수에 비해 상대적으로 높은 염도를 지니고 해수담수화 공정 특성상 많은 에너지 비용이 요구된다. 특히 하수 재처리수를 수원으로 선정함으로써 제주 재이용시설 관련 사업 활성화를 도모하여 장기적으로 제주도의 안정적인 수자원 이용을 도모할 수 있을 것으로 기대된다.
비용편익 분석
설계 요구사항
평가 내용
설계의 목적 계통도
시스템 설계
시연물의 설계
Quality Function Deployment
결과 및 평가
완료 작품의 소개
프로토타입 사진 혹은 작동 장면
포스터
관련사업비 내역서
완료작품의 평가
향후계획
한계 및 보완
개발 과제의 인공함양 시스템은 하수 재처리수를 주입 수원으로 선정하였으나 이는 정서/사회적 문제를 야기할 가능성이 높다. 대상 지역인 제주도의 경우, 전체 수자원 공급원 중 96% 이상을 지하수에 의존하고 있다는 점과 제주 주민들이 지하수 수질 보전에 경제적 지불 의사가 존재할 정도로 지하수에 대한 관심과 자부심이 상당하다는 점이 이를 뒷받침한다. 따라서 기술적 리스크를 충분히 관리하여 오염 및 안정성이 보장하더라도 해당 주입 시스템은 강한 지역 반발을 피하기 어려운 실정이다. 현재 제주 지자체는 지하수 과다 의존을 줄이기 위하여 하수재처리수를 대체 수자원으로 인식하고 있으며 2030년까지 제주시 하수재처리수 재이용률을 10 %로 확대하는 것을 목표로 설정하였다. (물 재이용 관리 계획, 2022)4) 따라서 개발 과제의 사회적 수용을 위해서는 제주도민들로 하여금 하수 재처리수를 대체 수자원으로 인식시키고 인공함양을 통한 지하수 보존이라는 구체적인 목표를 이해시키는 전략이 필요하며 재이용수에 대한 시민들의 거부감을 극복한 해외 사례를 토대로 'WaterRe' 도민 수용성 제고 전략을 대안으로 제시하고자 한다.
싱가포르 NEWater
싱가포르 수자원공사(PUB)가 개발한 고품질 재생수의 브랜드명으로 생활하수 및 폐수를 고도 처리(MF-RO-UV 공정)하여 음용수 수질 기준을 만족시킨 후 공업용수 및 간접 식수로 공급한다. NEWater는 싱가포르 총 물 수요량의 최대 40%까지 공급할 정도로 전국적으로 수요가 큰 수자원으로 연간 판매량 등이 지속적으로 증가하고 있다.
또한 고도처리수는 10%는 음용수 등 생활용수, 70%는 반도체 등의 제조를 위한 초순수로 20%는 상업지역 냉각용수로 사용된다. 이처럼 하수재처리수 시장의 규모가 크고 지속적으로 증가하고 있다는 점과 일부 처리수가 시민들의 여론과 직결된 생활용수로 공급된다는 점에서 재이용수에 대한 심리적 거부감을 잘 극복한 사례로 판단하였다. 싱가포르 물 정책에 대한 연구를 토대로 NEWater의 사회적 수용 측면에서의 전략을 분석한 결과. 용어의 변경/간접적 음용 및 급수시설의 단일화/투명한 공개 및 체험/데이터 기반 설득의 네 가지 전략으로 정리할 수 있다.
1.용어의 변경
sewage, wastewater라는 단어를 매체에서 삭제하고 Used Water라고 대외적으로 표기하고 Newater를 포함하는 Four National Taps(4대 국가 수도꼭지)의 개념을 국가 물 자립전략의 핵심 이미지로 굳힌다.
2.간접적 음용 및 급수시설의 단일화
생산된 재처리수를 상수도로 바로 연결하는 것이 아니라 저수지에 유입시켜 고객들로 하여금 심리적 완충지대를 포함시킨다. 가정에서 공급받는 물은 NEWater, 빗물, 담수화, 수입수가 모두 섞여 있으나 수도 청구서에는 단일 항목으로 Water로 기재함으로써 출처를 의식하지 않도록 한다.
3.투명한 공개 및 체험
NEWater Visitor Centre를 건립하여 방문자들로 하여금 정수 처리 공정을 공개하고 시음 체험을 진행하며 이를 초중고 필수 견학 코스로 지정하여 장기적 교육을 실시한다.
4.데이터 기반 설득
WHO 음용수 가이드라인, 미국 EPA 기준을 초과하는 데이터를 지속적으로 공개하고 이러한 안전성 검증 발표를 홍보에 활용한다.
WATERe 프로젝트
WATERe 프로젝트를 진행하여 하수재처리수 주입정에 대한 도민 수용성을 높인다. 해당 프로젝트는 위의 싱가포르 사례를 토대로 다음 네 가지 전략을 주축으로 한다.
1.랜드 네이밍 및 심리적 완화
핵심 슬로건으로서 "제주 지하수를 지키는 혁신적인 물의 순환"을 사용하며 프로젝트명인 ‘WATERe’는 물의 Recharge/Reuse/Renovation라는 3가지 의미를 내포하고 있다. WATERe 프로젝트 내에서는 ‘하수재처리수’가 아닌 '재생수' 라는 용어로 통일하여 심리적 거부감을 완화시킨다. 또한 재처리수를 곧바로 공급하는 것이 아닌 지하수 함양 과정 한 번 거친 물이라는 인식을 소비자들에게 준다.
2. 점진적 적용
운영 초기에는 비식용 작물, 과수, 사유지 정원, 조경, 사료용 작물, 공업용수 등처럼 건강 리스크가 작고 사회적 거부감이 덜한 용도 중심으로 운영한다. 이후 점진적으로 재이용 범위를 확장하되, 소비자·생산자 신뢰가 쌓인 뒤에 논의한다. 대상지인 구좌읍은 제주도 농업용수 광역화 사업의 시범지역으로서 현재 광역관정, 관로 등 관련 인프라가 신설되고 있으며 충분한 신뢰를 확보하면 이에 WATERe 프로젝트의 연계 가능성을 검토한다. 그 결과, WATERe를 농업용수의 안정적인 주요 공급원으로 확대시킬 수 있다.
3.시민 참여형 인식 개선
WATERe open Factory를 운영하여 방문자들이 지하대수층 주입 원수의 고도 처리 공정을 직접 눈으로 확인하고 [삼다수 vs WATERe vs 수돗물] 블라인드 테스트 등과 같은 이색 경험에 참여할 수 있도록 한다. 유동 인구가 많은 올레길 코스, 산방산 일대 등 주요 관광지에 WATERe 생수 페트병을 무료 배포함으로써 낯선 인식, 거부감을 개선한다.
4. 투명한 정보 공개 수질 정보 플랫폼을 구축하여 실시간 재생수 수질을 공개하고 만약 기준치 미달 시에는 자동으로 주입이 중단되는 시스템임을 보여준다. 메인 페이지는 재생수의 주입이 어떻게 염수 쐐기를 밀어내는지 직관적으로 보여줄 수 있는 영상을 포함한다.
특허 출원 내용
내용
























