SeeReal
프로젝트 개요
기술개발 과제
국문 : 진동벨 인증 좌석 시스템
영문 : Vibration Bell Authenticated Seating System
과제 팀명
SeeReal
지도교수
김현식 교수님
개발기간
2025년 3월 ~ 2025년 6월 (총 4개월)
구성원 소개
서울시립대학교 신소재공학과 20204500** 강*석(팀장)
서울시립대학교 신소재공학과 20204500** 이*성
서울시립대학교 신소재공학과 20208600** 황*현
서울시립대학교 신소재공학과 20224500** 김*빈
서론
개발 과제의 개요
개발 과제 요약
본 과제는 카페에서 음료를 주문하지 않고 좌석을 무단으로 점유하는 문제를 해결하고자 한다. 이를 위해 진동벨에 RFID 태그 기능을 내장하고, 이 진동벨을 통해 의자와 테이블의 잠금을 해제하는 ‘잠금장치 책상 의자’ 시스템을 개발한다. 이 시스템은 평소에는 책상 다리의 전자석이 의자 다리의 철판과 강한 자기력으로 결합되어 의자를 쉽게 뺄 수 없도록 하며, 자기장 센서를 통해 무단으로 의자를 당길 경우 전자석의 작동 전압을 일시적으로 강화하여 무단 점유를 더욱 강력하게 방지한다.
주요 기술 요소로는 RFID 리더기, 전자석 기반 잠금장치, 아두이노 마이크로컨트롤러, 자기장 센서, 블루투스 모듈 등이 활용된다. 시스템에는 손님이 전자석의 자성을 해지하는 손님용 태그와 직원이 자성을 복구하는 직원용 태그 두 가지가 사용된다. 이 시스템을 통해 음료를 구매한 고객만 좌석을 사용할 수 있게 하여 공정한 좌석 이용, 카페 매출 증가, 그리고 고객 만족도 향상을 기대한다.
개발 과제의 배경
본 개발 과제의 배경은 카페에서 발생하는 무단 좌석 점유 문제에 있다. 일부 고객들이 음료를 주문하지 않고 좌석을 점유함으로써, 실제로 음료를 구매한 다른 고객들이 좌석을 이용하는 데 불편을 초래하는 문제가 발생하고 있다. 이로 인해 카페 매장은 피해를 겪는 상황이다.
개발 과제의 목표 및 내용
1. 이 과제의 주된 목표는 카페에서 음료를 주문하지 않고 좌석을 무단으로 점유하는 문제를 해결하는 것이다. 이를 통해 다음과 같은 구체적인 목표를 달성하고자 한다:
- 공정한 좌석 이용 환경 조성: 음료를 구매한 고객만이 좌석을 사용할 수 있도록 하여 정당한 좌석 점유를 보장한다. - 카페 매출 증대: 무단 점유를 방지함으로써 새로운 고객들이 카페에 들어와 음료를 구매하고 좌석을 사용할 수 있도록 유도하여 카페의 매출 증가를 이끈다. - 고객 만족도 향상: 음료를 구매한 고객들이 카페 내 좌석 이용을 원활하게 하여 고객 만족도를 높인다.
2. 개발 과제의 내용 과제 내용은 다음과 같은 핵심 시스템 개발 및 구현을 포함한다:
- RFID 태그 내장 진동벨 및 잠금장치 책상 의자 시스템 개발: 음료 주문 시 제공되는 진동벨에 RFID 태그 기능을 내장하고, 이 진동벨을 사용하여 의자와 테이블의 잠금을 해제하는 ‘잠금장치 책상 의자’ 시스템을 개발한다.
작동 원리:
- 평상시 상태: 책상 가운데 다리에 달린 전자석에 전류가 흘러 자성이 존재하며, 전자석이 의자 다리에 고정된 철판(SUS430 및 SS400 소재를 덧붙여 강화)과 강하게 결합되어 의자를 쉽게 뺄 수 없도록 한다. 두 개의 전자석은 30분 간격으로 교대로 작동하여 온도 상승을 최소화하며, 릴레이 모듈이 이를 제어한다. 평상시에는 5V 전압으로 전자석을 구동하여 전력 소모를 줄인다.
- 좌석 사용: 손님이 음료를 구매한 뒤 RFID 태그가 내장된 진동벨을 받아 책상에 있는 RFID 리더기에 태그한다. RFID 리더기에 호환되는 아두이노 우노 R3 호환 보드(마이크로컨트롤러)가 신호를 인식하고, 블루투스 모듈을 통해 전자석과 연결된 마이크로컨트롤러로 신호를 송신한다. 신호를 받은 마이크로컨트롤러는 배터리에서 전자석으로 가는 전류의 흐름을 차단하여 전자석이 자성을 잃게 하고, 의자를 사용할 수 있게 한다.
- 무단 점유 방지 및 전력 절감: 자기장 센서는 평소에는 전자석과 철판 사이의 자기력을 약하게 유지하다가, 진동벨을 태그하지 않은 사람이 의자를 당길 시 철판과 전자석의 거리가 증가하는 것을 감지한다. 이때 전자석의 작동 전압을 10초간 12V로 일시적으로 강화하여 자기력을 증대시켜 무단 점유를 더욱 강력하게 방지하고 전력 소모를 절감한다.
- 좌석 반납 및 재잠금: 손님이 좌석 사용을 마치고 일어나면, 직원이 테이블 청소 후 의자를 끝까지 밀어 넣는다. 이후 직원용 태그를 RFID 리더기에 태그하면 전자석에 다시 전류가 흘러 자성이 생기고, 의자와 책상이 강하게 결합되어 재잠금된다.
주요 사용 부품: RFID 리더기(RC522), 아두이노 우노R3 호환 보드, 12V 원형 전자석, 아두이노 4채널 5V 릴레이 모듈, 자기장 센서(MLX90393), HC-06 블루투스 모듈, 5V to 12V DC 전원 승압 케이블, SUS430 및 SS400 소재의 철판 등이 활용된다. 회로를 보호하고 미관을 개선하기 위해 RFID 리더기 회로는 아크릴 케이스로, 전자석 회로는 3D 프린팅 케이스로 제작하여 설치한다.
관련 기술의 현황
관련 기술의 현황 및 분석(State of art)
- 특허조사 및 특허 전략 분석
[1] IoT 기반 무단 의자 사용 방지 시스템 및 그 제어 방법
- 등록번호 : 1022242500000
- 등록일자 : 2021.03.02
- 기술내용 : 로커를 구비하는 무단 사용 방지 장치와, 무단 사용 방지 장치와 무선 통신을 통해 자리사용 허가를 받은 고객만이 해당 의자에 착석할 수 있도록 잠금을 풀림으로 해제 처리하고 관리하는 중앙 통제 장치를 포함하여 구성된다.
- 한계점 : 고정되어 있는 의자에만 사용 가능하다.
[2] 클라우드 기반 공용공간 관리와 사석화 방지를 위한 IoT 장비 및 데이터 통계관리 시스템
- 등록번호 : 1024797990000
- 등록일자 : 2022.12.16
- 기술내용 : IoT 스마트 좌석에 대한 좌석 데이터를 수집하여 데이터에 따라 현재 이용 가능한 좌석 또는 사석화 의심 좌석을 포함하는 좌석 상황을 판단한다.
- 한계점 : 좌석의 사석화가 일어난 후에 대처하는 것이므로 사후대처의 성격이 강하고, 사석화를 근본적으로 해결하기 위해서는 결국 인력이 필요하다.
경쟁제품 조사 비교
본 프로젝트의 '진동벨 인증 좌석 시스템'은 다양한 기존 시스템 및 경쟁 제품과 비교하여 차별점을 갖는다.
- IoT 스마트 좌석과 CCTV를 활용한 사석화 방지 시스템: CCTV와 센서 정보를 기반으로 관리자가 판단하여 통제하므로 사후 차단 방식이다. 스마트 의자를 새로 구매해야 하는 불편함이 있다.
본 프로젝트: RFID 리더기에 태그를 찍지 않으면 의자를 사용할 수 없으므로 사전 차단이 가능하다. 기존 제품에 부품을 설치하는 방식이라 기존 제품 사용이 가능하다.
- 모던방재시스템: 비상문 자동 개폐장치와 유사하게 전자석과 철판의 자력을 활용하여 문을 잠금/해제한다. 평상시 전류 공급 시 자력이 발생하여 철판을 고정하고, 비상시 전원 차단 시 자력이 해제되어 문이 개방된다.
본 프로젝트: 두 개의 전자석을 30분 간격으로 교대로 작동시켜 온도 상승을 최소화하며, 철판과 전자석 간의 거리를 1.5cm로 유지하여 강한 인력을 구현한다. 또한, 다이오드를 설치하여 전류 차단 시 발생하는 역전류를 방지하여 부품 손상을 최소화한다.
- 미국 스타트업 SeatServe: 압력 센서를 활용하므로 가방이나 옷 같은 물건에 의해 오탐지될 수 있으며, IoT 센서 네트워크의 유지보수 비용이 높다는 단점이 있다.
본 프로젝트: 전자석과 철판을 이용한 직접적인 물리적 잠금 메커니즘을 채택하여 좌석 점유 여부를 명확히 판별할 수 있다. 릴레이 기반 제어 모듈을 통해 전자석의 교대 작동을 구현함으로써 에너지 효율을 높이고 유지 비용을 절감할 수 있다.
- 일본의 Coworking 카페 체인 ‘BIZcomfort’: QR 코드 인증 방식을 사용하며, QR 코드 복제 및 위조 가능성으로 인한 보안 취약점이 있고, 스마트폰이 필수적이어서 기기를 소유하지 않은 사용자는 이용이 제한된다.
본 프로젝트: RFID 태그와 전자석 잠금장치를 결합하여 물리적 차단과 디지털 인증을 동시에 구현함으로써 보안을 강화한다. 스마트폰 없이 RFID 태그만으로도 인증이 가능하도록 설계되어 사용자 편의성을 높였다.
마케팅 전략 제시
본 프로젝트의 마케팅 전략은 SWOT 분석을 통해 다음과 같이 제시될 수 있다.
- Strengths (강점): 1)구현이 간편한 구조: 전자석, 철판, RFID 태그 등 비교적 단순한 부품으로 구성되어 제작과 유지보수가 용이하며 다양한 공간에 쉽게 적용할 수 있다. 2)효과적인 물리적 제어: 전자석의 자력을 활용한 의자 잠금 메커니즘은 단순 경고나 알림 방식과 달리, 물리적으로 좌석을 고정하여 무단 점유를 직접적으로 차단하는 강력한 통제 수단이 된다.
- Weaknesses (약점): 1)미관 저해 요소: 테이블 지지대나 의자 하단에 전자석, 철판, 배선 등 부품이 외부에 노출될 경우 이질감이나 거부감을 유발할 수 있다. 따라서 디자인 요소를 고려한 외장 마감 처리가 필요하며, 각 부품이 손님에게 최대한 노출되지 않도록 덮을 수 있는 방식을 마련해야 한다. 2)전원 의존성: 전자석 작동을 위해 전력이 필수적이므로, 정전 시 대응 방안 또는 비상 전력 시스템 마련이 필요하다.
- Opportunities (기회): 1)혼잡 공간에서의 수요 확대: 스터디카페, 독서실, 공공 도서관, 시험 준비 공간 등 혼잡도가 높은 곳에서 좌석 무단 점유는 실질적인 불편함으로 작용하므로, 본 시스템은 실제 고객 니즈와 직접적으로 연결된다. 2)ESG 및 공공성 강조 공간 확대: 공정한 이용 환경 조성이라는 가치와 연계되어, 공공기관 및 ESG에 관심 있는 민간 기업의 도입 가능성도 존재한다.
- Threats (위협): 1)부품 고장 시 시스템 무력화 우려: RFID 리더기, 전자석, 센서 등 부품 중 하나라도 고장 나면 전체 시스템이 오작동할 가능성이 있으며, 이로 인해 고객 불편 및 신뢰도 하락이 발생할 수 있다. 2)기술적 모방 가능성: 구조가 비교적 단순하므로 유사 기술의 모방 또는 특허 회피 설계에 따른 경쟁 심화 가능성도 고려해야 한다.
개발과제의 기대효과
기술적 기대효과
본 진동벨 인증 좌석 시스템은 다음과 같은 기술적 기대효과를 가진다:
1) 전력 효율성 및 소모량 절감 자기장 센서가 진동벨을 태그하지 않은 무단 점유자의 의자 당김을 감지할 때만 전자석의 작동 전압을 일시적으로 5V에서 12V로 강화하고, 평상시에는 5V로 구동함으로써 전력 소모를 효과적으로 절감한다. 또한, 보조배터리가 전력 소모를 인식하지 못해 자동으로 꺼지는 문제를 방지하기 위해 더미 저항을 설치하여 시스템의 지속적인 작동을 보장한다.
2) 시스템 신뢰성 및 내구성 향상 두 개의 전자석을 30분 간격으로 교대 작동시켜 전자석의 온도 상승을 최소화함으로써 부품의 수명을 연장하고 안정적인 작동을 유지한다.
전류 흐름 차단 시 발생할 수 있는 역전류를 릴레이 모듈이 방지하여 회로 손상을 예방하고 시스템의 내구성을 높인다.
의자 다리에 SUS430 및 SS400 소재의 철판을 덧붙여 전자석과의 인력을 강화함으로써 물리적 결합력을 증대시키고 시스템의 견고함을 확보한다.
향상된 보안 및 무단 점유 방지 기능: 자기장 센서를 통해 무단으로 의자를 당기는 행위를 감지하고, 이때 전자석의 자기력을 일시적으로 강화(12V 전압 인가)하여 무단 점유를 더욱 강력하게 방지하는 지능적인 잠금 기능을 제공한다.
3) 회로 및 부품 보호 RFID 리더기 회로 케이스(아크릴 및 팰트지)와 전자석 회로 케이스(3D 프린팅)를 제작하여 내부 회로와 부품들을 외부 충격으로부터 보호하고, 시스템의 안정성을 높인다.
4) 효율적인 무선 통신 및 상태 표시 블루투스 모듈을 활용하여 RFID 리더기 보드와 전자석 제어 보드 간의 무선 통신을 가능하게 하여 시스템 구축의 유연성을 확보한다. 또한, 다이오드의 불빛 변화를 통해 전자석의 자성 활성화(초록불: 자성 작용) 및 비활성화(빨간불: 자성 해지) 상태를 직관적으로 확인할 수 있게 하여 시스템 관리 편의성을 높인다.
경제적, 사회적 기대 및 파급효과
본 진동벨 인증 좌석 시스템 개발은 카페 운영 환경과 고객 경험에 다음과 같은 경제적, 사회적 기대 및 파급효과를 가져올 것으로 예상된다.
- 공정한 좌석 이용 환경 조성:음료를 구매하지 않고 좌석을 점유하는 무단 좌석 점유 문제를 해결한다. 이를 통해 음료를 구매한 고객에게만 좌석을 제공하는 시스템을 구축하여, 고객들이 정당하게 좌석을 점유할 수 있도록 한다.
- 카페 매출 증대: 무단 좌석 점유 행위를 방지함으로써 새로운 고객들이 카페에 들어와 음료를 구매하고 좌석을 사용할 수 있도록 유도한다. 이는 신규 고객의 유입 증가로 이어져 궁극적으로 카페의 매출 증가를 유도할 수 있다.
- 고객 만족도 향상: 음료를 구매한 고객들이 카페 내 좌석을 보다 원활하게 이용할 수 있도록 하여 고객 만족도를 향상시킨다.
기술개발 일정 및 추진체계
개발 일정
구성원 및 추진체계
강민석(팀장) : 전체 프로젝트 총괄, 일정 관리, 회의 진행 및 회의록 작성, 보고서 작성 및 피드백, 제품 제작
이호성 : 전자석 잠금장치 및 회로 설계, RFID 리더기 구성, 시제품 조립, 제품 제작
황시현 : 시스템 기획 및 사용자 시나리오 작성, 테스트 자동화, 발표 자료 정리, 제품 제작
김정빈 : RFID 인증 시스템 구현, 제어 로직 설계, PPT/보고서 작성, 제품 제작
설계
설계사양
제품의 요구사항
•사용자가 편리하게 사용할 수 있어야 한다.
•시스템이 안정적으로 구현되어야 한다.
•구조적으로 완성도가 높게 설계되어야 한다.
•여러 번 사용을 반복해도 시스템이 안정적으로 작동되어야 한다.
•타제품 및 시스템과의 차별성이 명확해야 하며, 아이디어에 창의성이 있어야 한다.
•소비자가 제품을 사용하는 과정에서 위험 요소가 존재하지 않아야 한다. 특히, 손님이 자리를 떠나고 직원이 태그를 찍기 전까지 의자가 스스로 테이블과 부착되지 않아야 한다.
설계 사양
• 진동벨에 RFID 태그 기능을 내장하여, 진동벨을 통해 의자와 테이블의 잠금을 해제하는 '잠금장치 책상 의자' 시스템을 개발한다.
• RFID 리더기, 전자석 기반 잠금장치, 아두이노를 이용하여 좌석의 무단 점유를 방지하고 음료를 구매한 고객만 좌석을 사용할 수 있도록 한다.
주요 부품 및 역할 • RFID 리더기: 진동벨에 내장된 RFID 태그를 인식한다. 손님용 태그(자성 해지)와 직원용 태그(자성 복구) 두 가지를 사용한다.
• 전자석: 책상 가운데 다리에 부착하며, 전류가 흐를 때 자성을 발생시켜 의자 다리에 부착된 철판과 강하게 달라붙어 의자를 잠근다. 평소 5V로 구동되나, 무단으로 의자 당김 감지 시 10초간 12V로 구동하여 자기력을 강화한다. 두 개의 전자석이 30분 간격으로 교대로 작동하여 온도 상승을 최소화한다.
• 철판: 의자 다리 사이에 부착하며, 전자석에 자성이 흐를 때 전자석과 붙는다. 자석에 더 잘 붙는 SS400 소재를 SUS430 소재에 덧붙여 인력을 강화한다.
• 아두이노 UNO 호환보드: RFID 리더기의 신호를 인식하고, 배터리에서 전자석으로 흐르는 전류를 차단하거나 차단을 해제하는 마이크로컨트롤러 역할을 수행한다. RFID 리더기용과 전자석 제어용으로 각각 1개씩 총 2개를 사용한다.
• 릴레이 모듈: 전자석의 교대 작동을 제어하여 온도 상승을 최소화한다. 또한 전류 차단 시 역전류를 방지하고 전자석의 작동 전압을 조절한다.
• 자기장 센서: 진동벨을 태그하지 않은 사람이 의자를 당길 때, 철판과 전자석 간의 거리가 증가하여 발생하는 자기장 변화를 인식한다. 이는 전력 소모를 절감하기 위해 자기력 강화 기능을 필요한 시점에만 활성화하는 데 사용한다.
• 블루투스 HC-06 모듈: RFID 리더기에 연결된 보드와 전자석에 연결된 보드를 블루투스로 연결하여 신호를 전달한다.
• 배터리: RFID 리더기에는 5V 10000mAh 보조배터리를, 전자석에는 더 큰 용량의 30000mAh 보조배터리를 사용하여 전류를 공급한다.
• 케이스: 전자석 회로와 RFID 리더기 회로를 보호하며, 제품의 심미성을 높인다. RFID 리더기 회로 케이스는 아크릴로 제작 후 팰트지를 덮어 미관을 개선하고 책상 상판 하부에 부착한다. 전자석 회로 케이스는 3D 프린터(PLA 소재)로 제작하며 밸크로를 통해 개폐 가능하게 한다.
• 더미 저항: 보조배터리가 전력 소모를 인식하지 못하여 자동으로 꺼지는 문제를 방지하기 위해 1k옴 저항 4개를 설치한다.
작동 원리
• 평상시(잠금 상태): 책상 가운데 다리에 설치된 전자석에 전류가 흘러 자성이 존재하며, 의자 다리의 철판과 강한 인력이 작용하여 의자를 쉽게 뺄 수 없게 한다. 자기장 센서는 의자가 무단으로 당겨질 경우 전압을 5V에서 12V로 10초간 높여 자기력을 강화한다.
• 손님 사용 시(잠금 해제): 손님이 음료 구매 후 진동벨(RFID 태그 내장)을 책상 RFID 리더기에 태그한다. RFID 리더기의 신호가 블루투스 모듈을 통해 전자석 제어 마이크로컨트롤러로 전송되면, 전자석으로 가는 전류 흐름이 차단되어 자성을 잃고 의자를 사용할 수 있게 된다. 이때 역전류 방지를 위해 릴레이 모듈을 사용한다.
• 사용 종료 후(재잠금): 손님이 자리를 비우면, 직원이 청소를 마치고 의자를 밀어 넣은 후 직원용 태그를 RFID 리더기에 태그한다. 이 신호로 전자석에 다시 전류가 흘러 자성이 생기고, 의자와 책상이 다시 강하게 달라붙어 잠금 상태가 된다.
제품의 요구사항 반영
• 사용자가 편리하게 사용할 수 있도록 RFID 리더기의 가시성을 확보하고 케이스 크기를 최소화한다.
• 시스템이 안정적으로 구현되어야 한다는 요구사항에 따라, 전자석에 안정적으로 전류가 흐르고 태그 시 전류가 안정적으로 차단되며, 재잠금 시에도 안정적으로 작동하도록 설계한다.
• 구조적으로 완성도가 높게 설계하기 위해 회로 보호 케이스를 제작하고, 철판과 전자석의 인력을 강화하기 위해 SS400 소재를 사용한다.
• 여러 번 사용을 반복해도 시스템이 안정적으로 작동되어야 하며, 전자석의 온도 상승을 최소화하기 위해 릴레이 모듈을 통한 교대 작동을 구현한다.
• 타제품 및 시스템과의 차별성을 위해 진동벨이라는 기존 인프라를 활용한 RFID 인증 방식과 전자석을 통한 기계적 제어를 결합한다.
• 소비자가 제품을 사용하는 과정에서 위험 요소가 존재하지 않도록 역전류 방지 기능을 포함하며, 손님이 자리를 떠나고 직원이 태그를 찍기 전까지 의자가 스스로 테이블과 부착되지 않도록 한다.
개념설계안
본 "진동벨 인증 좌석 시스템"의 개념설계안은 카페에서 음료를 주문하지 않고 좌석을 무단 점유하는 문제를 해결하기 위한 '잠금장치 책상 의자' 시스템 개발을 목표로 한다. 이 시스템은 RFID 리더기, 전자석 기반 잠금장치, 그리고 아두이노를 활용하여 좌석의 무단 점유를 방지하고, 음료를 구매한 고객만이 좌석을 사용할 수 있도록 설계된다. 개념설계안의 주요 구성 부품 및 역할은 다음과 같다.
티앤디 아두이노 RFID 카드 센서 키트 RC522 MFRC [2EA]: RFID 리더기 역할을 수행하며, 진동벨에 내장된 RFID 태그를 인식한다.
아두이노 우노R3 고품질 호환 보드 코딩키트 ATMEGA328 [2EA]: 마이크로컨트롤러 역할을 하며, RFID 리더기에서 전달된 신호를 받아 배터리에서 전자석으로 흐르는 전류를 차단하거나 차단을 해제한다. RFID 리더기용과 전자석용 각각 1개씩 사용된다.
아두이노 점퍼케이블: 부품들을 전기적으로 연결한다.
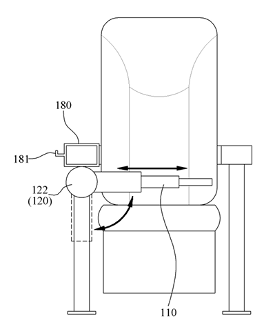
아두이노 호환 12V 원형 전자석 홀더 50kg [2EA]: 책상 가운데 다리에 부착되며, 전류가 흐를 때 자성을 띠어 의자 다리 사이의 철판과 강하게 달라붙어 의자의 이동을 제한한다.
스마텍 듀얼포트 5V 보조배터리 10000mAh [1EA]: RFID 리더기에 전류를 공급한다.
YINTO 대용량 보조배터리 고속충전 30000mAh [1EA]: 전자석에 전류를 공급하며, 전자석의 더 많은 전류 소모량에 맞춰 용량이 큰 제품을 선정한다.
아두이노 4채널 5V 릴레이 모듈 [1EA]: 전자석 2개를 30분 간격으로 교대 작동시켜 온도 상승을 최소화하며, 역전류 방지 및 전자석 작동 전압(5V/12V)을 조절하는 역할을 수행한다.
SUS430 자석 붙는 스텐판 스테인레스 스테인리스 마그네틱보드 및 SS400 소재 철판 [2EA]: 의자 다리 사이에 부착되며, 전자석에 자성이 흐를 때 전자석과 붙는다. 인력을 강화하기 위해 SUS430 위에 SS400 소재를 덧붙였다.
자기장 센서 (Adafruit Wide-Range Triple-axis Magnetometer – MLX90393) [1EA]: 전력 소모량 절감을 위해 사용된다. 평소에는 자기력을 약하게 유지하다가, 진동벨을 태그하지 않은 사람이 의자를 당겨 철판과 전자석 거리가 증가할 경우 자기장 변화를 인식하여 자기력을 강화한다.
HC-06 블루투스 모듈 [2EA]: RFID 리더기 호환 보드와 전자석 호환 보드를 무선으로 연결하여 신호를 전달한다.
엠비에프 USB 5V to 12V DC 전원 승압 케이블 MBF-UP5V12: 5V 배터리가 12V 작동 전압의 부품에 전류를 공급할 수 있도록 한다.
케이스: 전자석 회로(3D 프린터 제작, 밸크로 개폐)와 RFID 리더기 회로(아크릴 제작, 팰트지 부착)를 보호하고 제품의 심미성을 향상시킨다.
브레드보드: 납땜을 최소화하고 전기 회로를 구동할 수 있게 한다.
아두이노 1/4W 5% 저항 1k옴 (더미 저항): 보조배터리가 전력 소모를 인식하지 못하여 자동으로 꺼지는 문제를 방지한다. 구체적인 작동 과정은 다음과 같이 진행된다.
1. 평상시의 상태: 책상 가운데 다리에 설치된 전자석에 전류가 흘러 자성이 존재하며, 이 전자석이 의자 다리에 고정된 철판과 강한 자기력으로 결합하여 의자를 쉽게 뺄 수 없다. 전자석 2개는 릴레이 모듈을 통해 30분 간격으로 교대로 작동하여 과열을 방지한다.
2. 손님이 좌석을 사용할 때: 음료를 구매한 손님이 RFID 태그가 내장된 진동벨을 책상에 있는 RFID 리더기에 태그한다. RFID 리더기에 연결된 마이크로컨트롤러가 신호를 인식하고, 블루투스 모듈을 통해 전자석과 연결된 마이크로컨트롤러로 신호를 전송한다. 전자석에 연결된 마이크로컨트롤러는 신호를 받아 배터리에서 전자석으로 가는 전류의 흐름을 차단하며, 이로 인해 전자석이 자성을 잃게 되어 의자와 책상을 분리하여 좌석을 사용할 수 있게 된다.
3. 손님이 좌석 사용을 마치고 일어난 뒤: 손님이 좌석 사용을 마치고 일어나면, 직원이 테이블을 청소하고 의자를 끝까지 밀어 넣는다. 이후 직원용 태그를 RFID 리더기에 태그하면, 마이크로컨트롤러를 통해 전자석에 다시 전류가 흘러 자성이 생기고, 철판과 전자석 사이에 강한 자기력이 다시 작용하여 의자와 책상이 강하게 결합되어 쉽게 뗄 수 없게 된다.
이러한 작동 원리를 통해 음료를 구매한 고객만 좌석을 이용할 수 있도록 시스템을 구현한다.
이론적 계산 및 시뮬레이션
송신부 코드와 수신부 코드를 아래에 나타내었다.
[송신부 코드]
[수신부 코드]
상세설계 내용
회로의 구성 및 설계 방법과 케이스 도면에 대한 설명을 아래에 기재하였다.
[1] RFID 리더기 회로
(1) 회로 구성요소
아두이노 UNO R3 고품질 호환보드 1EA, 아두이노 블루투스 HC-05 B36 1EA, 브레드보드 1EA, 아두이노 RFID 카드 센서 키트 RC522 MFRC 1EA, 태그 2EA (손님용+사장용), 아두이노 점퍼케이블와 저항, 보조배터리
(2) 회로 제작 방법
1) 손님이 음료를 구매하고 받은 진동벨과 직원용 태그를 찍을 수 있는 RFID 리더기와 RFID 리더기에 호환되는 아두이노 UNO 호환보드를 전기적으로 연결한다. 또한, 각 부품에 전기를 공급할 수 있는 배터리를 아두이노 UNO 호환보드에 연결한다.
2) 브레드보드를 아두이노 UNO 호환보드와 점퍼 케이블을 통해 연결한다. 이때 RFID 리더기에서 찍힌 신호를 블루투스를 통해 전자석 회로로 보내는 블루투스 모듈 1개를 브레드보드에 연결한다.
(3) 작동 방법
RFID 리더기에 카드를 태그하면 카드의 고유 번호(UID)를 읽고 수신부와 통신한다.
[2] 전자석 회로
(1) 회로 구성요소
아두이노 우노 R3 고품질 호환 보드 코딩키트 (1.5미터 케이블포함) ATMEGA328 Arduino UNO 호환보드 1EA, 아두이노 호환 12V 원형 전자석 홀더 50kg 2EA, 아두이노 블루투스 HC-05 B36 1EA, 아두이노 4채널 5V 릴레이 모듈 1EA, MLX90393 3축 지자계 센서(자기장 센서) 1EA, 아두이노 점퍼 케이블와 저항, 다이오드, 브레드보드, 승압 케이블, 보조배터리
(2) 회로 제작 방법
1) 아두이노 UNO 호환보드에 전류 흐름을 제어하는 릴레이 모듈 1개, 브레드보드 1개를 연결한다.
2) 아두이노 UNO 호환보드에 연결된 브레드보드1에 RFID 리더기로부터 찍힌 신호를 송신받을 수 있는 블루투스 모듈을 연결하고 릴레이 모듈도 브레드보드1과 같이 연결한다. 그리고 브레드보드1에 다이오드 2개 (초록색, 빨간색)을 설치한다. 다이오드의 불빛 변화를 통해 신호가 제대로 전달되고 있는지를 확인할 수 있다.
- 초록불이 켜져 있을 시에는, 사장용 태그가 인식된 상태로 전자석과 철판에 인력이 작용하는 상태이다.
- 빨간불이 켜져 있을 시에는, 손님용 태그가 인식된 상태로 전자석과 철판에 인력이 작용하지 않는 상태이다.
3) 전자석 고정을 위해 나무 막대기에 전자석 2개를 박아놓는다. 그리고 릴레이 모듈과 전자석을 브레드보드2를 매개로 연결한다. 또한, 2개의 전자석 사이에 위치하는 자기장 센서 역시 이 브레드보드2에 연결한다. 이때 전자석 2개는 1.5 cm 거리를 두고 설치한다.
4) 전자석이 박힌 나무판을 책상 다리에 못으로 고정시키고, 글루건과 테이프 등을 통해 더 견고하게 고정되도록 한다.
5) 전자석에 전력을 공급하는 배터리와 릴레이 모듈을 다른 브레드보드3을 매개로 연결한다. 이때 배터리에 승압케이블을 연결시켜서 5V 배터리로도 12V 전압을 공급할 수 있도록 한다.
- 이때 브레드보드3에 아두이노 1/4W 5% 저항 1k옴 4개를 설치한다. 기존 보조배터리의 경우 전력 소모를 인식하지 못할 때 자동으로 전원이 꺼진다. 이를 해결하기 위해 더미 저항을 브레드보드3 안에서 ‘승압케이블’과 ‘릴레이모듈과 브레드보드3를 연결하는 점퍼케이블’ 사이에 병렬로 각 2개씩 총 4개를 연결시켜, 배터리가 전력 소모를 꾸준히 인식하며 배터리의 전원이 자동으로 꺼지는 문제를 방지한다. 1k옴 크기의 저항을 사용한 이유는 저항의 발열 문제를 최소화하기 위해서다.
(3) 작동 방법
송신부에서 온 신호를 바탕으로 전자석으로 흐르는 전류의 흐름과 전자석의 작동 전압을 조절한다.
[3] 전자석 회로 케이스 도면
전자석 회로 케이스의 도면을 CAD로 나타내었다. 케이스의 실제 모습 및 특징은 "완료작품 평가"항목에서 더 자세히 설명한다. RFID 회로 케이스의 경우, 간단하게 아크릴판으로 제작했으며, 도면은 따로 그리지 않았다. RFID 회로 케이스에 대한 설명도 "완료작품 평가"항목에 더 자세히 설명했다.
결과 및 평가
완료 작품의 소개
[1] 프로토타입
[2] 시연 동영상
의자가 분리가 되는 상황에서 사장님이 태그를 하면 의자와 탁자가 부착
다시 손님이 태그를 하면 의자가 분리가 되는 것을 시연
포스터
관련사업비 내역서
완료작품의 평가
제품의 최종 완성본 사진을 아래에 첨부했다.
[1] 의자
의자에 SUS 430 소재의 철판을 부착했고, 철판 위에 SS 400 소재의 철판을 덧붙여서 전자석과의 인력을 강화했다.
SUS 430 철판 사이즈: 300mm*80mm*1.2T
[2] 책상
책상 다리 아래에 전자석 회로를 설치했고, 전자석 회로를 케이스로 덮은 형태이다. 케이스에 대한 설명은 "[3]번 항목"에서 더 자세히 설명했다. 또한, RFID 리더기 회로 케이스를 전자석이 있는 부분의 반대편 책상 상판 하부에 부착했다. 이에 대한 설명은 "[4]번 항목"에서 더 자세히 설명했다.
[3] 전자석 회로 케이스
전자석 회로 케이스는 3D 프린터를 이용해 제작했다. 소재로는 PLA를 사용했다. 전자석이 있는 부분에 전자석의 크기에 맞춰 직사각형 형태로 구멍이 있으며, 케이스는 네오디뮴 자석 및 밸크로를 통해 좌우로 분리가 가능하도록 설계되어있다. 본 케이스의 목적은 전자석 회로를 보호하고 미관을 개선하는 것이다.
[4] RFID 리더기 회로 케이스
RFID 리더기 회로 케이스는 아크릴판으로 제작했으며, 팰트지를 덮어 미관을 개선했다. RFID 리더기 회로로 인해 손님들이 좌석 사용시 겪는 불편함을 최소화하기 위해 직육면체 형태에 회로의 사이즈를 고려하여 최소한의 사이즈로 케이스를 제작했다. 그리고 케이스의 바깥쪽 벽면에 RFID 리더기를 부착하여 손님들이 RFID 리더기를 쉽게 찾을 수 있도록 했다. RFID 리더기 케이스는 의자의 반대편에 위치했으며, 책상 상판 하부에 부착되어있다.
[제품의 작동 방법]
(1) 사장(직원)이 좌석을 잠글 때
손님이 좌석을 사용한 이후, 사장(직원)이 사용한 카페 테이블을 청소한 뒤,의자를 끝까지 밀어넣는다. 이후 사장(직원)용 RFID 태그를 리더기에 찍으면 전자석으로 전류가 흐르며 인력이 발생해 책상과 의자를 쉽게 떼어낼 수 없다.
(2) 손님이 좌석을 사용할 때
손님이 음료를 구매한 후, 좌석을 사용하고자 할 때, 손님용 진동벨(RFID 태그)을 리더기에 찍으면 배터리에서 전자석으로 가는 전류의 흐름이 차단되어 인력이 사라진다. 이로 인해 손님은 의자를 책상에서 쉽게 떼어내서 좌석을 사용할 수 있게 된다.
향후계획
'진동벨 인증 좌석 시스템'의 향후 계획은 제품 개발 단계별 진행, 성능 평가 및 개선, 약점 보완 및 응용 가능성 확대에 중점을 둔다. 먼저, 제품 개발은 Mock-up 개발을 통해 제작 전 실제 형태를 확인하고 제작 가이드라인을 설정하며, 이후 회로 구성 단계에서 필요한 부품들을 전기적으로 연결하여 RFID 리더기 및 전자석 회로를 구현할 계획이다. 이러한 구성을 기반으로 최종 제품을 제작하고 테스트를 진행하며 피드백을 반영하고, 손님에게 미적인 거부감을 주지 않도록 회로를 덮을 케이스를 제작할 예정이다. 성능 측면에서는 안정적인 성능 구현을 목표로, 손님이 태그하기 전까지 전자석이 안정적으로 의자를 고정하고, 태그 시 전류가 차단되어 의자를 손쉽게 분리하며, 직원이 태그했을 때 안정적으로 재잠금이 이루어져야 한다.
또한, 두 개의 전자석이 일정 시간(30분) 간격으로 교대로 작동하여 온도 상승을 최소화하고, 여러 명의 손님이 반복 사용해도 성능이 안정적으로 유지되도록 한다. 전자석과 철판의 부착 강도는 목표치인 50kg와 일치하는지 평가하고, 오작동 확률 0%를 목표로 제품 안정성을 높인다. 배터리의 지속 시간을 파악하고, RFID 리더기 태그 시 신호 반응 속도를 최소화하며, 지속적인 사용에도 철판의 변형이 최소화되도록 관리할 계획이다. 미관 개선을 위해 장치가 설치된 의자와 책상이 손님에게 미적으로 거부감을 주지 않아야 한다.
마지막으로, 약점 보완 및 응용 가능성 확대를 위해 현재 미관 저해 요소로 지적되는 부품 노출에 대해 디자인을 고려한 외장 마감 및 부품이 손님에게 노출되지 않는 방식을 마련하고, 전원 의존성 문제에 대비하여 정전 시 대응 방안 또는 비상 전력 시스템 마련이 필요하다. 부품 고장 시 시스템 무력화 우려를 줄이기 위해 시스템의 견고성을 높이고, 유사 기술 모방 가능성에 대한 특허 전략을 강화할 것이다. 향후에는 다양한 카페 매장 및 좌석에 적용 가능한 시스템 구현을 목표로 하며, RFID 기반 인증과 전자석 제어 기술을 통합하여 디지털-물리 융합 제어 시스템의 응용 가능성을 입증하고, 릴레이 기반 전류 제어 회로 설계를 통해 저전력 구동 및 에너지 효율 최적화를 실현하며, 자기장 센서를 활용한 스마트 제어 알고리즘을 개발하여 의자의 움직임을 비접촉 방식으로 감지하는 방안도 고려하고 있다.
특허 출원 내용
내용








